知识库管理
1. 概述
知识库管理是 ChatBI的 核心模块,用于集中存储、分类和维护 ChatBI 所需的多维度知识。根据功能划分,知识库包含以下三部分内容:
- 数据知识(关联数据集):支持结构化数据的接入与整合,为ChatBI提供底层数据支撑。
- 问答知识(错题集):记录并优化错误或低效的问答,持续提升回答准确性。
- 业务知识(业务知识库):存储企业专属的业务规则、流程及术语,确保对话贴合实际场景。
2. 知识分类
2.1. 关联数据集
关联数据集是 ChatBI 中用于配置和管理主题数据源的核心功能,支持用户将结构化数据表与主题智能关联。该功能通过严格的命名规范校验(禁止包含空格、运算符等32种特殊字符)确保模型识别准确性,并在接入后自动触发字段特征学习(如字符串枚举值提取)。
用户可执行完整的数据集生命周期管理:查看明细、字段映射切换(自动同步至错题集和答案集)、删除关联等操作,所有变更都将实时更新至知识库,保持数据与对话模型的高效协同。
详细配置可参考数据集配置。
2.2. 错题集
优先维护业务知识库,针对业务知识库难以清晰维护的提问,可将提问添加至错题集。
请勿将过于简单或者非长期有效的问题添加至错题集。
2.2.1. 创建错题集
支持批量导入和单个创建。
- 单个创建:点击「新建」,跳转至「新建错题集」界面,在此界面输入问题描述与对应的SQL语句,「预览」校验完成后点击「确定」将此问题加入错题集。
系统会对当前SQL语法类型进行检查并提示(抽取数据集语法类型显示为Spark)。如出现不同直连数据集混合SQL场景,进行报错提示当前无法支持跨数据库查询。

- 批量导入:点击「导入」,跳转至「批量导入错题集」页面,点击「下载问题列表样例」将模板下载至本地,根据模板填写后点击「+」上传,上传后自动开始SQL校验。

2.2.2. 管理标签
通过标签功能可以更有效地组织和查找错题集中的内容,详细介绍可参考知识标签管理。
2.2.3.设置为推荐问题
若将「设置为推荐问题」开关打开,此问题可在推荐问题中展示。


2.2.4.查看学习状态
学习状态列,用于清晰展示错题集的学习状态,便于用户直观了解学习进度。
在「学习状态」列右侧展示「最近学习完成时间」,用于展示该错题集最近一次学习成功的时间。若历史上从来没有学习成功过,则展示为空。

支持根据不同的学习状态进行筛选,方便用户快速定位特定状态的错题集。
若学习状态长期停滞在「排队中」或「学习中」,可先尝试刷新页面获取最新状态。

若错题集有更新,可以点击右侧重新学习,系统将自动学习,学习完成后「学习状态」更新为「已完成」,右侧「最近学习完成时间」展示最新学习完成时间。

2.2.5. 启用/禁用错题集
支持对知识条目进行启用或禁用管理,方便灵活控制知识在ChatBI问答中的可见性与可用性,同时保持知识内容的完整性和可维护性,详细介绍可参考启用/禁用知识。
2.2.6.其余操作
- 编辑错题集
点击右侧编辑按钮,可对已有错题集进行修改。

系统会对当前SQL语法类型进行检查并提示(抽取数据集语法类型显示为Spark)。如出现不同直连数据集混合SQL场景,进行报错提示当前无法支持跨数据库查询。

- 删除错题集
点击此按钮可删除该错题集,删除操作会进行二次确认以防误删。

- 批量导入导出
当已有错题集需要批量修改或者添加时,可通过「批量导出」导出Excel,在Excel中进行修改与添加,完成后再通过「批量导入」上传Excel。
上传时,系统会校验ID,当ID相同时,覆盖该条错题集;ID不同时,新增一条错题集。

2.3. 业务知识库
业务知识库包含通用知识和业务知识。
- 通用知识:每次对话都需要应用到的知识。
- 业务知识:“行业术语”、“业务常用语”、“指标口径定义”以文字版形式给到大模型学习。
2.3.1. 通用知识
点击右侧「编辑」输入通用知识,通用知识每次提问都会参考。

2.3.2. 业务知识
2.3.2.1. 创建知识
支持单个创建或批量导入业务知识,也可通过仪表板生成业务知识。
- 新建业务知识:点击「新建」输入知识描述。
- 批量导入:点击「导入」,跳转至「批量导入错题集」页面,点击「下载知识列表样例」将模板下载至本地,根据模板填写后点击「+」上传,上传后自动开始ID校验。当ID相同时,覆盖原有知识;ID不同时,新增一条知识。

2.3.2.2. 管理标签
通过标签功能可以更有效地组织和查找错题集中的内容,详细介绍可参考知识标签管理。
2.3.2.3. 查看学习状态
学习状态列,用于清晰展示业务知识的学习状态,便于用户直观了解学习进度。
在「学习状态」列右侧展示「最近学习完成时间」,用于展示该业务知识最近一次学习成功的时间。若历史上从来没有学习成功过,则展示为空。

支持根据不同的学习状态进行筛选,方便用户快速定位特定状态的业务知识。
若学习状态长期停滞在「排队中」或「学习中」,可先尝试刷新页面获取最新状态。

若业务知识有更新,可以点击右侧重新学习,系统将自动学习,学习完成后「学习状态」更新为「已完成」,右侧「最近学习完成时间」展示最新学习完成时间。

2.2.2.4.启用/禁用业务知识
支持对知识条目进行启用或禁用管理,方便灵活控制知识在ChatBI问答中的可见性与可用性,同时保持知识内容的完整性和可维护性,详细介绍可参考启用/禁用知识。
2.3.2.5.其余操作
- 编辑知识
点击右侧编辑按钮,可对已有业务知识进行修改。

- 删除知识
点击此按钮可删除该业务知识,删除操作会进行二次确认以防误删。

- 批量导入导出
当已有业务知识需要批量修改或者添加时,可通过「批量导出」导出Excel,在Excel中进行修改与添加,完成后再通过「批量导入」上传Excel。
上传时,系统会校验ID,当ID相同时,覆盖该条知识;ID不同时,新增一条知识。

- 每个知识最多可以有3个标签,超出部分将被忽略
- 当使用「主题另存为」功能时,知识的标签信息也会一同复制到新主题中。
3. 知识标签管理
3.1. 概述
知识库标签功能是对知识内容进行分类管理的工具,支持标签管理、单个打标和批量筛选;通过标签功能,可以更有效地组织和查找知识库中的内容,提高知识管理效率。
3.2. 适用范围
标签管理适用于错题集与业务知识库。
3.3. 注意事项
- 标签是按主题使用的,不同主题之间的标签互不影响
- 同一主题下,错题集和业务知识的标签不通用
- 每个知识最多可以有3个标签,超出部分将被忽略
- 当使用「主题另存为」功能时,知识的标签信息也会一同复制到新主题中。
3.4. 使用指导
3.4.1. 管理标签
在业务知识库/错题集列表中,点击标签列表头设置按钮进入「标签管理」,支持在此处新增、管理标签。
- 系统会默认创建以下推荐标签:指标口径、行业黑话,可编辑修改。
- 对于系统冷启动生成的知识,会自动标记为「系统生成」。
- 每个标签右侧会显示该标签被使用的知识数量,方便了解标签的使用情况。

3.4.2. 为知识添加标签
支持对单条知识或多条知识打标签。
方式一:在知识列表中找到需要设置标签的知识,点击「编辑」按钮,在编辑知识弹窗中,找到「标签」选项,从下拉列表选择需要的标签(可多选,上限3个),点击「确定」完成设置。
若已有标签不适用当前知识,可通过下方「添加」按钮添加新的标签。

方式二:在知识列表中,找到需要设置标签的知识,点击标签列,从下拉列表选择需要的标签。

方式三:批量设置标签。在知识列表中,勾选多个需要设置标签的知识条目,点击「批量设置标签」,系统跳转至「批量设置标签」页面,支持批量添加、批量替换、批量删除三种操作。
- 批量添加:为选中知识添加指定标签,不影响已有标签。
- 批量替换:将选中知识的所有标签替换为指定标签。
- 批量删除:从选中知识中移除指定标签。

4. 启用/禁用知识
4.1. 概述
在运营管理后台对知识条目进行启用或禁用管理,方便灵活控制知识在 ChatBI 问答中的可见性与可用性,同时保持知识内容的完整性和可维护性。
- 启用状态:知识可被问答过程调用,启用后自动触发知识学习流程。
- 禁用状态:知识不会在问答过程中调用,但仍保留在知识库/错题集中。
4.2. 适用范围
适用于「错题集」与「业务知识库」。
4.3. 使用指导
4.3.1. 单个设置
方式一:在「错题集/业务知识库」页面,直接点击「启用状态」下方按钮。

方式二:在「错题集/业务知识库」页面,点击「编辑」按钮,在编辑页面进行启用/禁用。

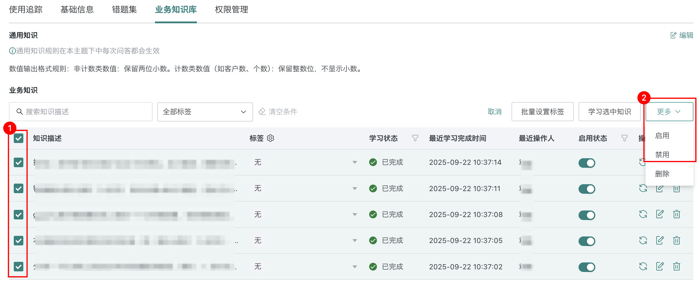
4.3.2. 批量设置
在知识列表中,勾选多个需要批量开关的知识条目,点击「更多」后对知识进行启用/禁用。
