数据集预警
概述
数据集预警是一种基于数据集的高级监控功能,通过设置自定义规则,可实现精准的数据异常预警和个性化通知分发。它支持按用户属性字段智能匹配收件人,使不同用户收到与自身相关的定制化预警信息,同时提供多渠道通知和动态内容插入能力,帮助企业实现数据驱动的精准管理和高效协作。
前提条件
已完成发送预警所需渠道的配置。
- 若需要通过邮件发送订阅,则需要在「管理中心 > 系统集成」中完成 邮件配置。
- 若需要通过第三方 OA 发送订阅,则需要完成对应 OA 系统的集成,集成配置可参考 企业微信集成、钉钉集成、飞书集成、云之家集成、泛微OA集成。
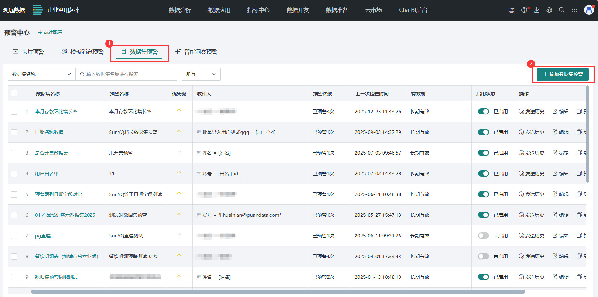
创建预警
-
点击右上角「九宫格」按钮中的「预警中心」,进入「预警中心」页面。

-
选择「数据集预警」,点击右侧的「添加数据集预警」按钮,即可进入「数据集预警」的配置页面。

配置预警

与 卡片预警 配置大致相同,区别在于:
- 数据集预警需要选择关联的数据集,用关联数据集的信息进行预警。
- 收件人分发条件:当数据满足预警规则时,系统将根据该数据对应的用户属性,推送至对应用户,具体实例可参考 预警示例。
- 「字段」分发规则:基于数据集里的具体字段,将预警通知精准分发给匹配对应用户属性的收件人。
- 「固定值」分发规则:
-
当属性值为单值时,如多选,此时,如姓名(用户属性)固定值 多选小 A,小 B,则姓名等于小 A 或小 B 的两个账号作为收件方;
-
当属性值为多值时,如多选,此时,如区域(用户属性)固定值 多选北京、上海,则区域包含北京或上海的账号作为收件方。
-
- 邮件正文/通知内容:填写通知正文;如未填写,则默认正文。在编辑正文的时候,支持添加字段,这样每个收件人收到的信息根据收件人的不同可以动态变化。同时,如果插入的是数值字段,还支持对数据进行数据格式设置,以便提供更好的阅读体验(如完成进度的小数设置为百分比)。
- 通知跳转链接:支持「显示」或「隐藏」卡片详情页链接。
| 通知渠道 | 通知跳转链接 |
|---|---|
| 邮件 | 不支持跳转 |
| 企业微信 | 卡片详情页、仪表板页面、移动轻应用页面、自定义、不跳转 |
| 钉钉 | 卡片详情页、仪表板页面、移动轻应用页面、自定义、不跳转 |
| 云之家 | 卡片详情页、仪表板页面、移动轻应用页面、自定义、不跳转 |
| 泛微 | 卡片详情页、仪表板页面、移动轻应用页面、自定义、不跳转 |
| 飞书 | 卡片详情页、仪表板页面、移动轻应用页面、自定义、不跳转 |
预警示例
若要配置「数据集预警」,数据集的数据需要满足:每一行必须包含当前预警规则所需信息;数据集里必须包含至少一个用户属性字段,用以关联收件人。
以下方数据为例:

如果希望能对未达到目标销售额的大区推送预警,那么此数据集无法直接使用,至少需要基于大区维度进行数据汇总,至少包含基于大区的销售额和目标销售额两个信息,生成最终可用于预警推送的数据集。
在观远 BI 中,您可以通过「数据准备 > 智能 ETL」来进行数据处理,详细步骤见 输入数据集 和 输出数据集。

处理后的数据集如下(用户属性至少关联 1 个,此处为方便说明,关联了两个)。

针对这个处理后的数据集,可以设置数据集预警。
例如,「预警规则」配置为「当销售额小于销售额目标时触发」,那么华北和华中会触发预警。
对于收件人
- 收件人里关联的字段是「大区 id」,那么该条信息会通知该大区 id 对应的所有用户(华北的信息会发送所有用户属性中大区 id 是 B1002 的用户,华中同理)。
- 收件人里关联的字段是「大区经理工号」,那么该条信息会通知该工号对应的用户(华北的信息会发送给用户属性中工号是 bj0294 的用户,华中同理)。
对于预警内容
- 如果内容是「您所在的大区销售额未达标」,那么所有收件人收到的信息都是相同的文本信息。
- 如果内容是「你管理的区域销售额未达标:实际销售额是销售额;销售额目标是销售额目标」,则
- 华北的用户收到的信息是「你管理的区域销售额未达标:实际销售额是 78283;销售额目标是 80000」;
- 华中的用户收到的信息是「你管理的区域销售额未达标:实际销售额是 45832;销售额目标是 50000」。
常见问题
关于预警相关的常见问题,详见 常见问题。